
▲부산시 중부소방서 변현준 소방장이 발명한 '스프링클러 수손피해 방지대'의 설계모형. (사진제공=부산시)
부산시는 공무원의 직무발명을 장려하고, 발명문화 확산을 위해 노력해 온 결과 '제9호 공무원 직무발명 공무원'으로 부산시 중부소방서 변현준 소방장을 선정했다고 10일 밝혔다.
변현준 주무관은 지난해 직무발명을 신고해 출원 신청했던 '스프링클러 수손피해 방지대'가 최종 특허청 특허 등록결정 통보를 받음으로써, 부산시 제9호 직무 발명가로 이름을 올리게 됐다.
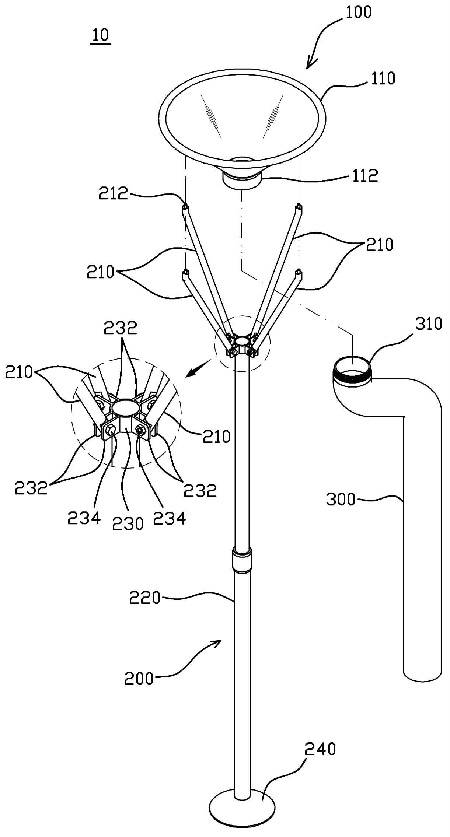
변 소방관은 평소 소방 진화 등 현장 진화 활동을 수행하면서 느껴 온 불편함과 현장 위험요인을 해소하기 위해 '스프링클러 수손피해 방지대 장치'를 발명했다고 밝혔다. 발명품은 오작동 또는 화재진압 후에도 스프링클러로부터 계속 분사되는 소화수(물)를 차단·집수해 배출되도록 함으로써 수손피해를 방지하도록 하는 장치로, 향후 소방행정에 접목해 신속하고도 안전한 진화작업에 기여할 것으로 기대된다.
발명품의 세부 기능으로는 ▲구조적개선을 통해 견고하게 설치돼 스프링클러로부터 방수되는 소화수를 안정적이고도 효과적으로 차단·집수해 배출할 수 있으며, 특히 ▲휴대와 보관이 용이해 사용의 편의성을 크게 향상시켰다.
한편 '공무원 직무발명제도'는 공무원의 직무발명을 장려하고 연구의욕을 고취시켜 발명 문화 확산과 지식재산 창출을 선도, 지역경제 활성화에 기여하기 위해 운영하는 제도다. 시는 매년 공무원 직무발명제도 활성화 계획을 수립해 연간 2회의 직무발명 신고 제도를 운영하고 있다. 그간 시는 총 65건의 직무발명 신고를 접수했으며, 현재 9건의 특허를 보유하고 있다.
시의 4차 산업혁명을 선도하고 있는 김병기 신성장산업국장은 "앞으로도 많은 직원이 창의적인 직무 발명에 적극 참여할 수 있도록 발명자에게는 보상금 지급 외에도 다양한 인센티브를 지급할 계획이다"고 밝혔다.